所在位置:首页>公益课堂>检索+

“检索+发明和实用新型”系列微课堂 | 第六讲 建筑领域外文语义检索的应用

来源:专利检索咨询中心微信号作者:发布时间:2024/4/21 9:21:00


一、适用情形


建筑领域专利存在如下特点:一是IPC分类不精准,涉及E04B、E04C、E01D甚至F16;二是关键词大多为机械领域通用词,例如常见的混凝土、墙、柱、板、构件、块、薄、槽、孔、插等。因此,采用“IPC+关键词”这一常规思路检索犹如大海捞针。


然而,恰恰是这些关键词又限定了其领域专业性,因此该类案件适合于利用权利要求或者发明构思进行语义检索。但是,采用语义检索时,若检索员只采用默认数据库,通常包含中英文等主要数据库,检索结果绝大多数仍将是中文专利,这使得有价值的外文文献被淹没。


转换一下思路,若只选择其中的外文数据库,尤其是英文库,通过浏览全文附图可以快速命中外文对比文件。下面以“一种装配式墙板安装条(申请号CN201821611142.1)”一案为例进行介绍(以下图片均来源于国家知识产权局官网)。


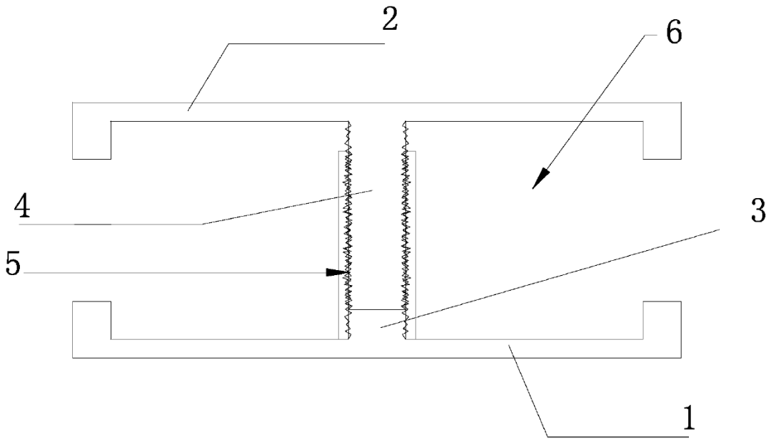
图片

(案例-申请号CN201821611142.1)


该专利权利要求1保护一种装配式墙板安装条,其特征在于:所述装配式墙板安装条为长条形,包括安装龙骨底板(1)和装饰面卡条(2),所述安装龙骨底板(1)的中部设置有插接槽(3),所述装饰面卡条(2)的中部设置有插接板(4),所述装饰面卡条(2)的插接板(4)插入安装龙骨底板(1)的插接槽(3)中后在插接槽(3)的两侧形成两个安装卡槽(6)。



二、检索过程


通过提炼权利要求要点或者发明构思进行语义检索,选择数据库时去掉中文数据库,而仅保留外文数据库。针对上述案例以如下内容进行检索:包括安装龙骨底板和装饰面卡条,安装龙骨底板的中部设置有插接槽,装饰面卡条的中部设置有插接板,插接板插入安装龙骨底板的插接槽中后在插接槽的两侧形成两个安装卡槽。在浏览了为数不多文献之后,可以获得如下2篇对比文件。


(对比文件1-公开号US2009077922A1)


(对比文件2-公开号KR202009009020U)


更进一步,若将上述检索内容翻译成:Assembled wallboard mounting strip,comprises a middle part for mounting keel bottom plate and decorative face clamping strip, the mounting keel bottom plate is provided with an inserting groove, the middle part of the decorative surface clamping strip is provided with an inserting plate.同样仅在外文数据库进行检索,耗费时间明显少于前述方法,在同样获得前文所提2篇对比文件之外,又获得如下相关文献。


(对比文件3-公开号US2006150565A1)


(相关文献-公开号JP2018155058A)


但是该文献公开日在本专利申请日之后,对该文献以及前文所提3篇对比文件一并进行追踪,又获得如下2篇对比文件。


(对比文件4-公开号JP2018135718A)


(对比文件5-公开号JP2003262028A)


综合来说,上述5篇对比文件均可以影响本专利权利要求1的新颖性,部分追踪到的文献甚至可以影响其余独立权利要求(本文未列出)的新颖性。



三、启示


第一,针对专业性较强、关键词和分类号均不准确且语义检索结果多为中文专利的领域,可以尝试仅在外文数据库中单独进行语义检索。


第二,将该案件中文权利要求或者其发明构思翻译成英文,在外文数据库中进行语义检索,其语义检索结果更为精准和快速。


第三,在检索到合适或相似对比文件之后,对其进一步追踪,可以获得更多有价值对比文件。